
Калория представя кондензни газови топловъздушни апарати със затворена горивна камера и модулираща премикс горелка серията PMX – CMX на италианския производител Tecnoclima.
| 30 kW | 40 kW | 50 kW | 60 kW | 90 kW | 120 kW |
Моделите от сериите PMX и CMX представляват модерни и високоефективни продукти, които предоставят комфорт, несравнимо ниски нива на шум, икономичност и безопасност през дългия си експлоатационен период.
Означения
PMX = топловъздушен апарат с осов вентилатор за директно подаване на въздуха
CMX = топловъздушен апарат с центробежен вентилатор за подаване на въздуха чрез въздуховодна мрежа.
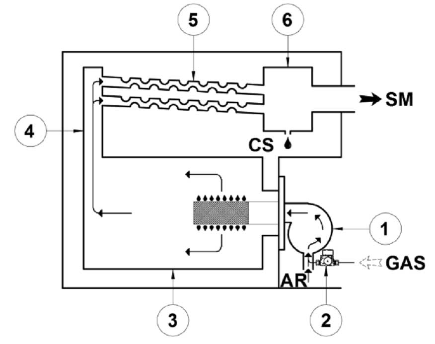
Функционална схема
Вентилаторът на премикс горелката (1) засмуква оптималната смес от газ (GAS) и въздух за горене (AR); в точните пропорции, подсигурени от миксера и модулиращия газов вентил (2). Във вентилатора (1) се извършва допълнително смесване на газ (GAS) и въздух за горене (AR), след което тази смес се подава към горивната глава на премикс горелката. По външната страна на горивната глава радиално се разгръщат пламъците. Димните газове (SM), преди да бъдат отведени през комина, подгряват горивната камера (3), задния колектор на димни газове (4), димогарните тръби (5) и предния колектор на димни газове (6). Температурата на димните газове при преминаване през димогарните тръби (5) пада под точката на росата, като по този начин се усвоява и латентната топлина, която се съдържа в тях. Полученият конденз (CS) се събира в предния колектор на димни газове (6), след което се отвежда.

Ефективност
Топловъздушният апарат е проектиран за отопление на промишлени и битови помещения. Уредът се характеризира с променлива топлинна мощност и постоянна модулация, контролирана автоматично от дистанционния контролен панел с вграден температурен сензор. Това гарантира бързо подгряване на помещението, лесното поддържане на постоянна температура и ниски топлинни загуби.
Благодарение на постоянната модулация на топлинната мощност, базирана на моментната необходимост от отопление, топловъздушният апарат достига ефективност до 106%, което значително намалява консумацията на газ. На диаграмата е показана зависимостта между топлинната мощност и ефективността за всички типове съоръжения:

Пример:
При топлинна мощност от 65 kW, ефективността на съоръжения PMX 120 и CMX 120 е около 104%.
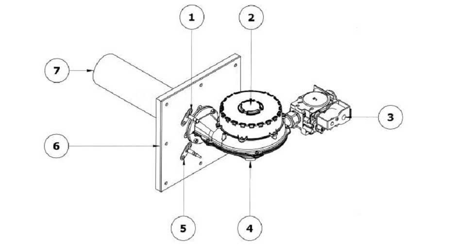
Премикс газова горелка
Температурният градиент на премикс горелката е модулиращ в голям диапазон (от 30% до 100%). Газовият вентил подава гориво спрямо дебита на въздуха за горене в съотношение, което е фабрично настроено. Съдържанието на въглероден двуокис (CO2), за разлика от атмосферните горелки, е сравнително постоянно в целия работен диапазон. Перфектното смесване на газ и въздух гарантира пълноценно горене с много ниски емисии на въглероден окис (CO) и азотни окиси (NOx). В случай на намаляване дебита на въздуха за горене (например при запушване на димоотвода или въздуховода за засмукване на пресен въздух), газовият вентил автоматично намалява количеството на подавания газ, като запазва нивата на горивните параметри. При липса на въздух за горене, газовият вентил се затваря и спира да подава гориво.

1. Запалителен електрод;
2. DC вентилатор с безчетков електродвигател;
3. Газов вентил;
4. Миксер;
5. Йонизационен електрод;
6. Монтажна плоча с топлоизолационна гарнитура;
7. Горивна глава с метална мрежа.
Конструкция на топловъздушния апарат
Схемата се отнася за PMX

1.Горивна камера;
2.Заден колектор на димни газове;
3.Димогарни тръби;
4.Преден колектор на димни газове;
5.Ревизионен отвор на предния колектор на димни газове;
6.Конектор за отвеждане на конденза;
7.Сифон за отвеждане на конденза;
8.Конектор за димоотвода с пробка за анализ на димните газове;
9.Конектор за въздуховода за пресен въздух;
10.Конектор за газ;
11.Нагнетателна решетка с регулируеми жалузи;
12.Осов вентилатор;
13.Щуцери за електрическите връзки;
14.Мултифункционален сензор на вентилатора;
15.Електрическо табло;
16.Мултифункционална сигнална лампа;
17.Вентилатор на премикс горелката;
18.Газов вентил;
19.Запалителен електрод;
20.Йонизационен електрод.
Схемата се отнася за СMX


1.Горивна камера;
2.Заден колектор на димни газове;
3.Димогарни тръби;
4.Преден колектор на димни газове;
5.Ревизионен отвор на предния колектор на димни газове;
6.Конектор за отвеждане на конденза;
7.Сифон за отвеждане на конденза;
8.Конектор за димоотвода с пробка за анализ на димните газове;
9.Конектор за въздуховода за пресен въздух;
10.Конектор за газ;
11.Фланец за присъединяване на въздуховод;
12.Мултифункционален сензор на вентилатора;
13.Щуцери за електрическите връзки;
14.Трифазно електрическо табло;
15.Електронна платка;
16.Мултифункционална сигнална лампа;
17.Вентилатор на премикс горелката;
18.Газов вентил;
19.Запалителен електрод;
20.Йонизационен електрод;
21.Центробежен вентилатор;
22.Електродвигател на вентилатора;
23.Ролка на електродвигателя;
24.Вал на ролката на електродвигателя;
25.Ролка на вентилатора;
26.Вал на вентилаторната ролка;
27.Ремък.
Технически характеристики


Пример за монтаж в малки и средноголеми помещения:

Пример за монтаж в големи помещения:

Схема на подвързване към газовата линия:

1.Извод с мъжка резба за присъединяване на топловъздушния апарат към газовата линия;
2.Филтър-стабилизатор/регулатор на налягане;
3.Филтър;
4.Ръчен спирателен кран;
5.Газопровод.
Отвеждане на димните газове и засмукване на пресен въздух
Възможни са различни конфигурации. Ето няколко примера.
При тази конфигурация отвеждането на димните газове се извършва през единичен димоотвод, а засмукването на пресен въздух става от помещението, където е монтиран уреда.
Конфигурация с отвеждане през стената Конфигурация с отвеждане през покрива

При тази конфигурация отвеждането на димните газове и засмукването на пресен въздух се извършва през стената, чрез отделни тръби, като и двете се осъществяват извън помещението, където е монтиран уредът. В този случай може да се ползват както отделни самостоятелни тръби, така и концентрични.
Конфигурация с отделни тръби Конфигурация с концентрични тръби
Контролно табло за дистанционно управление
Топловъздушните апарати се характеризират с функциониране при променлива топлинна мощност и постоянна модулация, контролирана автоматично от контролното табло за дистанционно управление. Контролното табло за дистанционно управление съчетава в себе си функциите на стаен термостат и дистанционно управление на отоплителната система, като всички функции са систематизирани в достъпно и лесно за употреба меню. Има възможност за едновременно управление на няколко топловъздушни апарата, подвързани в каскада. Също така има опция за свързване на външен температурен сензор към един от топловъздушните апарати и по този начин да се активира функцията за климатична компенсация. Седмичното програмиране е особено гъвкаво, тъй като има 4 нива на температурата, които могат да бъдат настроени и няма ограничения за броя на ежедневните времеви интервали, които могат да се задават през период от 15 минути и се показват на графиката на дневната програма. Комуникацията между контролното табло за дистанционно управление (което функционира като водещо – master), и контролните табла на топловъздушните апарати (които функционират като следващи – slave), се осъществява чрез двужилен кабел. Информацията между контролното табло за дистанционно управление и контролните табла на топловъздушните апарати се обменя чрез OpenTherm™ v3.0 Smart Power Mode – Medium Power съвместим протокол.
Основни характеристики:
– LCD дисплей 128×64;
– затъмняване на дисплея след 20 s;
– LED светодиод за индикация на грешки;
– 7 бутона за навигация през менютата;
– седмична програма;
– 4 нива на задаваната температура (T0, T1, T2, T3);
– интервал на задаване на температурата: 0.5°C;
– интервал на показване на отчетената температура: 0.1°C;
– минимален времеви интервал на програмиране: 15 минути;
– Safety Extra Low Voltage (SELV) тип на защита;
– лесно свързване, чрез двужилен кабел към контролното табло на топловъздушния апарат
Представената серия PMX 120 и CMX 120 на Tecnoclima е удачно предложение, гарантиращо надеждна работа при използването на газообразно гориво, съобразено с Европейските стандарти за високоефективна кондезна техника с премикс горене. Надеждната и успешна серия се използва в редица проекти за замяна на стари инсталации с широк спектър на приложение – от производствени мощности в индустрията, до логистични складове, халета за съхранение, обществени сгради, физкултурни салони и зали, и много други.

За контакти и повече информация – Калория.

