
Целта на настоящата публикация е да ви запознаем със системата за лъчисто водно отопление, базирана на модулните излъчващи панели на италиански партньор на България Терм – Ecopan.
Системата предлага:
– бързо влизане в режим;
– ниска термична инерция;
– равномерно разпределение на топлината;
– възможност за зоново отопление;
– ниски термични градиенти;
– никакво движение на въздух и прах;
– отсъствие на шум;
– никакви заети повърхности на пода или на стената;
– никаква опасност от пожар;
– липса на движещи се части;
– никаква поддръжка.
Конструкция
Излъчващите панели Ecopan са изпълнени, фиксирайки неподвижно тръбите в подходящо оформен стоманен ламаринен лист, включващ също и страничните бордове. Използвайки най-новите технологии в листа, са огънати кръгови легла на определено разстояние. В тези канали са поставени тръбите, като профилът на канала обхваща около две трети от обиколката на всяка тръба и по този начин я блокира. Отгоре, на интервали от около един метър, са разположени напречно конзолите за окачване, които укрепват цялата система и позволяват монтажа на куките за закачане на подвесните вериги. След това между страничните бордове на място се поставя изолацията. Панелите Ecopan с електрозаварени стоманени тръби (½² или ¾²), изпитани и проверени, се използват в инсталация, захранвани с вода до 120°C. За прегрята вода, пара, диатермично масло и т.н. се използват тръби (½² или ¾²), които не са заварени и имат сходни характеристики.
Благодарение на специалния профил, панелите Ecopan отделят много голямо количество енергия чрез излъчване. Не само, че топлоотдаването на панелите, сертифицирани съгласно EN 14037, са по-високи от тези на конкуренцията, но и температурата на повърхността на листа е по-висока.

Производство, свързване
Излъчващите панели Ecopan се произвеждат в различни модели:
– с разстояние между тръбите 150 mm се предлагат седем модела с тръби от ½ и четири с тръби от ¾;
– с разстояние между тръбите 111 mm се предлагат седем модела с тръби от ½ и четири с тръби от ¾.
Стоманените ламаринени листове са с дебелина 0,6 mm и дължина около 2 метра. Монтирани са така, че да се получат модули с дължина от 4 или 6 метра. На фиг. 1 са показани размерите на модулите от 6 и 4 метра, които съставляват излъчващи панели. Чрез свързване на тези модули е възможно да се получат лъчисти панели с всякаква дължина, кратна на 2 метра, като се започва от минимална дължина 4 метра. За да се осигури непрекъснатост на панелите в мястото на заварките между отделните модули, са предвидени капаци със съответното сечение на панела, които се закрепват с помощта на стоманени клипсове.
Фиг. 1 – размери на панелите (mm)

Носещи конзоли
За панелите са предвидени носещи конзоли приблизително на всеки метър. При монтажа на панелите трябва да се осигури окачване обикновено на всеки два метра. При панели с тръби от ¾ окачването може да е с разредка, увеличена до 30%. Панелите с ширина по-малка или равна на 60 cm могат да са с точки на окачване на разстояние до 3 метра. Разстояния между окачванията по-големи от горепосочените могат да доведат до постоянна деформация.
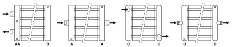
Колектори
Колекторите имат квадратно сечение (50×50 mm) за панели със заварени тръби и кръгли (Ф60 mm) – за панели с незаварени тръби. Предвидени са различни изпълнения по отношение на използвания флуид и схемата на захранване. Доставят се заварени към панелите.
Фиг. 2

| Едностранна връзка | Двустранна връзка | Пара | Прегрята вода или диатермично масло |
| Топла вода | |||
Боядисване
Небоядисан панел от неръждаема стомана, алуминий или поцинкована ламарина не излъчва. Боядисването е много важна фаза в производството на лъчистите панели както за получаване на добра степен на излъчване, така и за защита на панела от корозия. След процеса на измиване и обезмасляване, панелите Ecopan се подлагат на фосфатиране и впоследствие на прахово боядисване с епоксиднополиестерни прахове, несъдържащи вредни вещества. След боядисване панелите се обработват допълнително в сушилня при температура 180°C.
Покритието не е подходящо за външен монтаж на панелите. Стандартният цвят е бял – RAL 9016. Други цветове са на разположение при поискване. Дебелината, непрозрачността и високата емисионност на покритието позволяват да се постигнат най-добрите условия на излъчване.

Изолиране
Стандартът EN 14037 изисква лабораторията, която провежда изпитванията на експлоатационните характеристики на панелите, да ги оборудва със слой от минерална вата с дебелина 40 mm, минимална плътност 25 kg/m, коефициент на топлопроводност 0,04 W/mК при 40°C, покрита от горната страна с алуминиeво фолио.
Изолацията, предоставена от Ecopan и придружаваща панелите, е филц от стъклена вата – „не канцерогенна“ в съответствие с Директива 97/69/EC. Дебела 40 mm, покрита е в горната си част с алуминиево фолио. Изолацията се доставя на рула и трябва да бъде вмъкната между бордовете в горната страна на панела. Нейното разгъване се улеснява от липсата на препятствия, които биха попречили на полагането ѝ, като по този начин тя прилепва отлично към панела.
Работна температура
Излъчващите панели на партньора на България Терм – Ecopan със заварени тръби са подходящи за пренасяне на течности с температури до 120°C. Версията с незаварени тръби може да се използва за флуиди до 180°C.
Работно налягане
За панели в изпълнение със заварени тръби и работещи с гореща вода до 120°C, максималното работно налягане е 6 bar. Налягането на изпитване в завода, проведено върху всеки панел, е 8 bar, а налягането на първоначалното изпитване на всеки модел е 10,2 bar.
За панели с незаварени тръби максималното работно налягане е 16 bar.
Нестандартни варианти, аксесоари
– панели с 1 тръба, незаварени;
– панели с 4 – 6 – 8 тръби със стъпка 111 mm от ½ и с отвори за лампи;
– странични антиконвективни бордове;
– странични скрити профили за окачване с променлива стъпка;
– капаци за скриване на връзки, изпълнени с пресфитинги;
– колектори за монтиране с пресфитинги;
– изолация за главите на панелите;
– горна защитна ламарина за спортни зали.
се подлагат на фосфатиране и впоследствие на прахово боядисване с епоксиднополиестерни прахове, несъдържащи вредни вещества. След боядисване панелите се обработват допълнително в сушилня при температура 180°C.
Покритието не е подходящо за външен монтаж на панелите. Стандартният цвят е бял – RAL 9016. Други цветове са на разположение при поискване. Дебелината, непрозрачността и високата емисионност на покритието позволяват да се постигнат най-добрите условия на излъчване.
Фиг. 3


Приложение в системи за охлаждане
Излъчващите панели Ecopan могат успешно да се използват в системи за охлаждане. Става въпрос за система, която охлажда приятно средата, но не позволява обработка на въздуха, освен в съчетание с други специфични устройства. В този случай поставянето на студени повърхности противодейства на излъчването на топлите повърхности, като по този начин се увеличава комфортът на присъстващите. За да се избегне рискът от появата на конденз по повърхността на излъчване, е необходимо да се гарантира, че температурата на повърхността на панелите е по-висока от температурата на оросяване на въздуха в помещението.
Мощностите при охлаждане трябва да се изискат от техническия офис на Ecopan, който остава на разположение за съвети, свързани с всеки проект.
Приложение
В индустрията

В публичния сектор

В търговския сектор

За подробна информация – България терм.

